Cómo hacer una caja de cartón
Aprende paso a paso cómo hacer una caja de cartón con nuestras ideas y tutoriales, perfectas para manualidades y proyectos DIY.

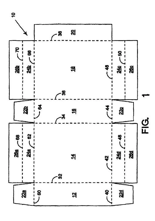
Moldes para hacer una caja de carton con tapa - Imagui
Indica el motivo para eliminar esta imagen:

TUTORIAL DE CAJA EN CARTÓN CORRUGADO | Entre papeles y galletas
Indica el motivo para eliminar esta imagen:

Como Hacer Maquetas: como hacer una caja de carton corrugado
Indica el motivo para eliminar esta imagen:

Cajas en forma de corazón con decoupage :: Cómo hacer cajas en ...
Indica el motivo para eliminar esta imagen:













