Troquel caja
Este album de Troquel caja con 6 fotos e imágenes no tiene descripción. Puedes sugerir una descripción de éste álbum y publicar nuevas fotos en él.

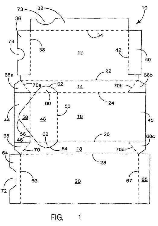
D 0512430 - 01 (1) - TROQUEL PARA CAJA EXPOSITOR - Tomo 3 del ...
Indica el motivo para eliminar esta imagen:

Caja de carton y troquel de carton (índice 1) (15 de julio de 2009).
Indica el motivo para eliminar esta imagen:

PRODUCCIÓN GRÁFICA: Troquel Caja de Perfume
Indica el motivo para eliminar esta imagen:

D 0512430 - 02 (1) - TROQUEL PARA CAJA EXPOSITOR - Tomo 3 del BOPI ...
Indica el motivo para eliminar esta imagen:
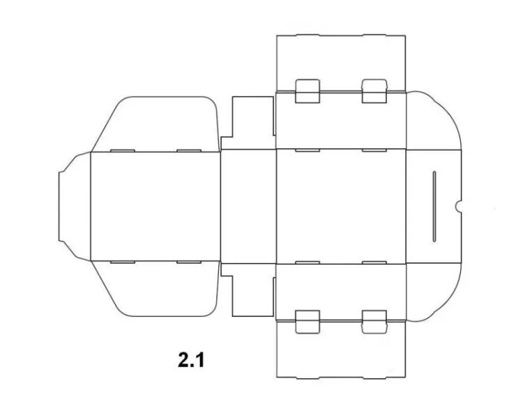
Caja Troquel Golosinas by Steven Mora at Coroflot.
Indica el motivo para eliminar esta imagen:







