Imagen para estampar
Este album de Imagen para estampar con 9 fotos e imágenes no tiene descripción. Puedes sugerir una descripción de éste álbum y publicar nuevas fotos en él.

dibujosjhim: ESCUDO HERALDICO DE TUPAC SHAKUR
Indica el motivo para eliminar esta imagen:

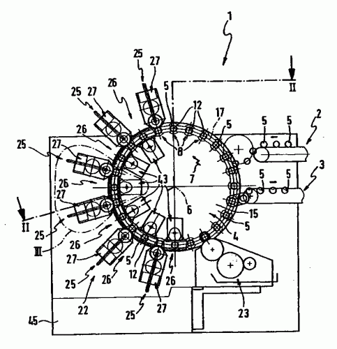
Maquina para estampar cuerpos huecos (1 de diciembre de 2005).
Indica el motivo para eliminar esta imagen:

ESTAMPADITOSweblog | Just another WordPress.com weblog | Página 2
Indica el motivo para eliminar esta imagen:

SÓriginal Estampados: MAS MODELOS PARA ESTAMPAR!
Indica el motivo para eliminar esta imagen:

Design screen (solo para diseñadores): VECTORES PARA ESTAMPADOS
Indica el motivo para eliminar esta imagen:










